上海恒點傳動設備有限公司
加微信聯系 恒點減速機QQ2:51228482
[HTML] [XML]  産品展示産品展示-RSS  新聞中心新聞中心-RSS  技術支持技術支持-RSS
産品分類: 減速機蝸輪絲杆升降機轉向箱蝸輪蝸杆減速機齒輪減速機行星齒輪減速機擺線針輪減速機無級變速機大功率減速器
上海恒點傳動設備有限公司
資訊分類
和産品相關的技術文章
當前位置:網站首頁 > 技術支持 > 齒輪加工工藝守則(JB/Z307.9-88)

齒輪加工工藝守則(JB/Z307.9-88)

Tags: P系列行星齒輪減速器    發布時間: 2014-11-26
1.适用範圍
該标準規定瞭齒輪加工應遵守的基本規則 ,适用於各企業的齒輪加工。
齒輪加工還應遵守JB/Z307.1(切削加工通用工藝守則總則)
2.一般要求
(1)齒坯裝夾前應檢查其編号和實際尺寸是否與工藝規程要求相符合 。
(2)裝夾齒坯時應注意查看其基面标記,不得将定位基面裝錯。
(3)計算齒輪加工機床滾比挂輪時,一定要計算到小數點後有效數字第五位。
3.滾齒工藝守則
(1)本守則适用於用滾動切法加工GB10095-88中規定的7、8、9級精度漸開線圓柱齒輪。
(2)滾齒前的準備。
①加工斜齒或人字齒輪時,必須驗算差動挂輪的誤差,一般差動挂輪應計算到小數點後有效數字第五位。差動挂輪誤差應按下式計算。
式中:δ——差動挂輪誤差;
m——齒輪模數;
N——滾刀頭數;
B——齒輪齒寬;
K——齒輪精度系數;對7級齒輪,K爲0.001;對8級齒輪,K爲0.002;對9級齒輪,K爲0.003;
C——滾齒機差動定數。
②加工有偏重的齒輪時,應在相應處安置适當的配重。
(3)齒坯的裝夾。
①在滾齒機上安裝滾齒夾具時,應按表Ⅱ-1的要求調整。
表Ⅱ-1滾齒機上安裝滾齒夾具 (mm)
齒輪精度等級
檢查部位
齒輪加工工藝守則
A
B
C
D
允許跳動公差
7
0.015
0.010
0.005
0.015
8
0.020
0.012
0.008
9
0.025
0.015
0.010
②在滾齒機上裝夾齒坯時,應将有标記的基面向下,使其與支承面貼合,不得墊紙或銅皮等物。壓緊前用千分表檢查齒坯外圓徑向跳動和基準端面跳動 ,其跳動公差不得大於表Ⅱ-2所規定數值。壓緊後需再次檢查 ,以防壓緊時産生變形。
表Ⅱ-2用千分表檢查齒坯外圓徑向和基準端面跳動公差1)(mm)
齒輪精度等級
齒輪分度圓直徑
≤125
>125~400
>400~800
>800~1600
>1600~2500
>2500~4000
齒坯外圓徑向跳動和基準端面跳動公差
7
0.018
0.022
0.032
0.045
0.063
0.100
8
9
0.028
0.036
0.050
0.071
0.100
0.160
1)當三個公差組的精度等級不同時,按最高的精度等級確定公差值;當以頂圓作基準時,表中的數值就指頂圓的徑向跳動。
(4)齒輪軸的裝夾
①在滾齒機上裝夾齒輪軸時,應用千分表檢查其兩基準軸頸(或一個基準軸頸及頂圓)的徑向跳動,基跳動公差應按下式計算:
式中:t——跳動公差,mm;
L——兩測量點間的距離,mm;
B——齒輪軸的齒寬,mm;
K——精度系數:對7級和8級精度齒輪軸,K值取0.008~0.01,對9級精度齒輪軸,K值取0.011~0.013。
②在滾齒機上裝夾齒輪軸時 ,應用千分表在90°方向内檢查齒頂圓母線與刀架垂直移動的平行度,在100mm長度内不得大於0.01mm。
③齒坯裝夾壓緊時,壓緊力應通過支承面,不得壓在懸空處,壓緊力應适當。
(5)刀杆與滾刀的裝夾
①粗、精加工刀杆、刀墊必須嚴格分開,精加工用刀墊兩端面平行度不得大於0.005mm
②刀杆及滾刀裝夾前,刀架主軸孔及所有墊圈、刀杆、支承軸套、滾刀内孔端面都必須擦淨。
③滾刀應輕輕扒入刀杆中,嚴禁敲打。
④刀杆裝夾後,懸臂檢查刀杆徑向和端面圓跳動,其跳動公差不得大於表Ⅱ-3規定 。
表Ⅱ-3懸臂檢查刀杆徑向和端面跳動的公差1)
齒輪精度等級
圓跳動公差
懸臂檢查刀杆徑向和端面跳動的公差
A
B
C
7
0.005
0.008
0.005
8
0.008
0.010
0.008
9
0.010
0.015
0.010
1)精度等級按第Ⅱ公差組要求;表中B點跳動是指L小於或等於100mm時的數值、L每增加100mm,B點跳動允許增加0.01mm。
⑤滾刀安裝後必須檢查滾刀軸台徑向圓跳動,其跳動公差不得大於表Ⅱ-4規定,並且要求兩軸台徑向圓跳動方向一緻。
表Ⅱ-41
齒輪模數
齒輪精度等級
7
8
9
跳動公差
≤10
0.015
0.02
0.04
>10
0.02
0.03
0.05
1)精度等級按第Ⅱ公差組要求。
(6)滾刀選擇及磨鈍标準
①滾刀選擇
要據被加工齒輪的精度要求,按表Ⅱ-5選擇滾刀。
表Ⅱ-5被加工齒輪的精度1)
齒輪精度等級
滾刀精度等級
粗滾齒
精滾齒
7
B或C
AA
8
A
9
C
B
1)精度等級按第Ⅱ公差組要求。
②滾刀磨鈍标準
在滾齒時 ,如發現齒面有光斑、拉毛、粗糙度變壞等現象時,必須檢查滾刀磨損量,基磨損量不得大於表Ⅱ-6的規定。
表Ⅱ—6滾刀磨損量度 (mm)
滾刀模數
2-8
>8-14
>14-25
>25-30
磨損量
粗滾刀
0.4
0.3
0.8
1.0
精滾刀
0.2
0.3
0.4
0.5
③精滾刀每次刃磨後均需檢查容屑槽周節累積誤差,容屑槽相鄰周節誤差,刀齒前面的非徑向性,齒面粗糙度和刀齒前面與内孔軸線的主行度等,並要有檢查合格證方可使用。
(7)機床調正
①爲瞭保證滾齒機在加工過程中的平穩性,分齒挂輪,差動挂輪齧合間隙應爲0.1~0.15mm。
②在大型滾齒機上加工大型齒輪時,必須根據齒坯的實際重量和夾具的重量,調整機床的卸載機構,並檢查其可靠性。
③根據被加工齒輪的技術參數、精度要求、材質和齒面硬度等情況決定切削用量。用單頭滾刀時推薦採用以下加工規範:
滾切次數:模數在20以下時,粗滾、精滾各一次。
模數在20~30時,粗滾 、半精滾、精滾各一次。
切削濃度使用權用兩次滾切時,粗滾後齒厚須留有0.50~1.00mm的精滾餘量。
採用三次滾切時,第一次粗滾深度爲全齒深的70%~80%。第二次半精滾齒厚須留有1.00~1.50mm的精滾餘量。
切削速度:切削速度在15~400m/min範圍内選取。
進給量:粗滾進給量在0.5~2.0mm/r範圍内選取。
精滾進給量在0.6~5mm/r範圍内選取。
(8)滾齒加工
①機床調整後用啃刀花進行試切檢查分齒、螺旋方向是否與設計要求相符。
②粗精滾齒應嚴格分開,有條件時,粗、精滾齒應分别在兩台滾齒機上進行。
③在滾切人字齒輪時,左右方向實際齒厚之差不得大於0.10mm。
4.刨齒工藝守則
(1)本守則适用於用展成法加工7、8、9級精度直齒錐齒輪。
(2)刨齒前的準備
a.按加工方法和齒輪模數、材質、硬度進行速度挂輪,進給挂輪的選擇與調整 。
b.調整分齒挂輪和滾比挂輪,其齧合間隙應保證在0.1~0.15mm。
c.根據粗、精刨齒要求準確調整鼓輪的滾柱位置。
d.分齒挂齒調整後,開動機床,以主軸座分度盤刻線驗證分齒挂輪的正確性。
e.刀架角和滾比挂輪的滾比分别按公式(Ⅱ-3)和(Ⅱ-4)計算,即
式中:S——分度圓上弧齒厚;
hf——齒根高;
θf——齒根角;
δ′——節錐角;
R——外錐距;
α——齒輪壓力角;
Z——齒輪齒數;
Rg——機床系數。
當刨刀齒形角α0,不等於齒輪壓力角α時 ,
(3)夾具(或心思)裝入主軸錐孔後,應校正其徑向跳動和端面跳動,其徑向跳動應不大於齒坯基準面徑向跳動公差的三分之一,端面跳動應不小0.005mm。
(4)齒坯的裝夾應保證輪位、床位的正確性。
(5)刨齒刀的裝夾應使用權本機床的長度和高度對刀規對刀,以保證刨齒刀的正確位置。
(6)在精刨相齧合的齒輪副時,應選用同一副刨齒刀,以保證工件齒形角一緻 。
(7)裝夾齒坯時,應保證錐頂和機床中心重合,並根據齒坯定位基面至其錐頂的距離調整刨齒刀行程長度,調整時應避免刀具與鞍架相碰 。
(8)刨齒刀的使用和刃磨
①粗刨時,刨齒刀磨損量應不超過0.2mm。
②精刨時,刨齒刀磨損量應不超過0.1mm。刨齒刀刃磨後的前角與前面的傾角應符合刀具标準的有關規定。
③精刨齒刀刃磨後刀刃的直線度應不大於0.01mm,前面的粗糙度Ra值應不大於1.6μm,並不得有裂紋,燒傷和退火現象。
(9)刨錐齒輪副時,應先刨大齒輪,然後配對加工小齒輪,並做配對标記。
5.插齒工藝守則
(1)本守則适用於用齒輪型插齒刀加工GB10095-88規定的7、8、9級精度漸開線圓柱齒輪。
(2)插齒前的準備。
①調整分齒挂輪的齧合間隙在0.1~0.15mm内。
②按加工方法和工件模數、材質、硬度進行切削速度挂輪、進給挂輪的選擇與調整。
(3)插齒心軸及齒坯的裝夾
①心軸裝夾後,其徑向跳動應不大於0.005mm。
②裝夾齒坯時應将有标記的基面向下 ,使之與支承面貼合,不得墊紙或銅皮等物。壓緊前要用千分表檢查外圓的徑向跳動和基準端面跳動 。其跳動公差不得大於表Ⅱ-2的規定 。
③在裝夾直徑較大,或剛性較差易受振動的齒坯時,應加輔助支承。
(4)插齒刀的适用與裝夾
①插齒刀的精度選擇按表Ⅱ-7
表Ⅱ-7插齒刀的精度選擇1)
齒輪精度等級
插齒刀精度等級
7
AA、A
8
A
9
B
1)精度等級按Ⅱ公差組要求。
②刀墊的兩端面平行度公差應不大於0.005mm,刀杆和螺母的螺紋部分與其端面垂直度公差應不大於0.01mm。
③裝夾插齒刀前應用千分表檢查裝刀部位的徑向圓跳動、端面圓跳動及外徑d的磨損極限偏差,其值不得超過表Ⅱ-8的規定 。
表Ⅱ-8裝刀部位徑向圓跳動1)
端輪精度等級
7
8
9
裝刀部位徑向圓跳動
端面圓跳動
0.005
0.006
徑向圓跳動
0.008
0.009
磨損量
0.01
0.02
1)精度等級按第Ⅱ公差組要求。
(5)機床調整
①根據齒輪模數、齒數、材質、硬度選擇适當的切削速度。一般切削速度可在8~20m/min範圍内選取。
②調整插齒刀的沖程次數,按下式計算:
式中:n——插齒刀每分鍾沖程次數;
V——切削速度,m/min;
B——被加工齒輪的寬度,mm;
Δ——插齒刀切入、切出長度之和 ,mm。
(6)插齒過程中,應随時注意刀具的磨損情況,當刀尖磨損達到0.15~0.30mm時,應及時換刀。
6.弧齒錐齒輪銑齒工藝守則
(1)銑齒前的準備
(2)齒坯的裝夾
①按零件圖樣和工藝規程上規定的安裝距,加上夾具上标明的(或實測的)尺寸,嚴格控制水平輪位尺寸。
②當需要更換工件主軸大錐套時,應将工件主軸内錐孔,端面和錐套外圓、端面擦幹淨,塗一薄層機油,用手推入配合,錐套和主軸錐孔的端面間應有0.15~0.20mm的間隙,拉緊後,此間隙應消除。
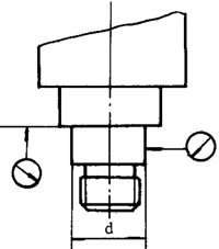
(3)刀盤的裝夾
①檢查刀盤主軸:外圓徑向跳動和端面跳動均應不大於0.01mm。
②檢查心軸裝在機床上的跳動:
定位内孔或心思外圓的徑向圓跳動和定位端面圓跳動均應不大於0.01mm。
③刀盤内孔和後端面及機床刀具主軸必須擦幹淨 ,精切刀裝上刀盤後 ,應用百分表校驗高速刀尖在同一水平面上,誤差應不大於0.02mm;調整同名刀頭的徑向跳圓動應不大於0.005mm。
④加工中需要更換刀頭時,必須檢查合格後才能使用。
(4)機床調整
①按照機床調整卡片上規定的加工方法和各項參數調整機床的刀位、輪位、床位、搖台角、安裝角、刀傾角 、刀轉角。
②當進給鼓輪指标在滾切中心刻線上時,按機床調整卡片上規定的參數調整分齒挂輪和滾比挂輪,並保證其齧合間隙爲0.1~0.15mm。
③根據齒輪模數、齒數、材質、硬度、刀盤直徑合理選取切削速度和進給挂輪。切削速度一般可在15~40m/min範圍内選取。
(5)銑齒加工
①加工相齧合的齒輪副時,應先銑大齒輪,然後以大齒輪配銑小齒輪。銑後應做标記。
②首件銑齒後,在保證安裝距和齒側間隙的條件下,應将銑出的齒輪在滾動檢查機中跑合,調整齒面接觸區,合格後才能正式生産。
③銑齒時,刀盤的刀頭磨損量應不大於0.3mm。
7.弧齒錐齒輪磨齒工藝守則
(1)磨齒前的準備
①根據齒輪的模數、齒數、材質、硬度、磨削方式 、齒面粗糙度等因素合理選用砂輪。
②砂輪要進行粗平衡→修整→精平衡→再修整。
(2)被磨削齒輪的裝夾
①按零件圖樣和工藝規程中規定的安裝距,加上夾具上标明的(或實測的)尺寸,嚴格控制水平輪位。
②磨齒心軸(夾具)裝入機床主軸孔後應檢查其定位外圓的徑向跳動和支承端面的跳動,其公差均應不大於0.01mm。
③當需要更換機床工件主軸大錐套時,應将機床工件主軸内錐孔及其端面和錐套的外圓及其端面擦幹淨,塗一薄層機油 ,用手推入配合,錐套和主軸錐孔的端面間必須有0.15~0.20mm的間隙,拉緊後此間隙應消除。
(3)砂輪安裝
①砂輪安裝後,應用砂輪修正器修出正確的齒形角。
②必須保證砂輪的正確輪位。
(4)機床調整
①按照機床調整卡片上規定的各項參數,調整機床的刀位、輪位 、床位。
②調整分齒挂輪和滾比挂輪,保證其齧合間隙爲0.1~0.15mm。
③鼓輪機構的調整:應注意調整滾柱的不同位置,安裝要準確。
④搖台角的調整:調好搖台作磨削擺動的起點,使搖台擺動的角度足以磨好全齒面 。
⑤選取合适的磨削速度和進給量,保證被磨削齒輪的齒面不得現燒傷、退火和裂紋。
(5)磨削加工
①磨削相齧合的齒輪副時,必須選磨削大齒輪,然後以大齒輪配磨小齒輪。
②齒輪磨齒後,在保證安裝距和齒側間隙的條件下,應在滾動檢查機上跑合,調整齒面接觸區,合格後做标記。
8.剃齒工藝守則
(1)被剃齒輪的裝夾
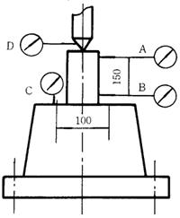
①機床前後(或上下)頂尖的徑向圓跳動應不大於0.005mm。兩頂尖中心連結對工作台移動方向的偏差移,在150nn内應不大於0.01mm。
剃齒心軸裝夾後,徑向圓跳動應不大於0.005mm。
②機床主軸的端面和徑向圈跳動都應小於0.005mm;墊圈兩端面的平行度應不大於0.005mm。
(2)剃齒刀的選擇與裝夾
①剃齒刀的精度按表Ⅱ-9選用
表Ⅱ-9剃齒刀的精度1)
齒輪精度等級
剃齒刀精度等級
6
A
7
A、B
8
B
1)精度等級按第Ⅱ公差組的要求 。
②剃齒刀裝夾後,其端面跳動和徑向跳動均應不大於0.01mm。
③跳齒刀的齒數應與被剃齒輪齒數無公約數。
(3)機床調整
①應根據機床剛性 、齒輪模數、材質、硬度,剃齒方式、剃齒刀直徑等因素選取主軸速度挂輪。
②根據齒輪模數、齒數、材質、硬度選取進給量。對徑向進給量一般取0.005~0.01mm/r,軸向進給量一般取0.1~0.5mm/r。
③調整剃齒刀的超越行程:爲保證齒向嚴謹,剃齒刀的超越行程一般應取剃齒刀厚度的1/3-2/5。
(4)剃齒加工
①剃齒時軸交角的選擇:
a.剃直齒輪時,軸交角應取5°或15°。
b.剃斜齒輪時,軸交角應取10°~25°。
c.剃雙聯或多聯齒輪時,軸交角應根據齒輪空刀槽寬度适當選取,保證台肩無幹涉。
②機床調整好後,應進行齒輪的試剃並檢查齒向精度,合格後才能進行剃齒。
③在剃齒過程中,發現齒面失去剃刀花紋,出現擠壓痕迹,齒面無光澤,齒形端面出現較大毛刺,有啃刀現象,齒形誤差增大,公法線長度變動超差或發出異常聲間時,應及時換刀。
④剃削鼓形齒時仿形闆的調整:仿形闆應按工件中心點放置,並與工作台搖擺中心點重合,以保證工作來往行程的擺動量相等,使剃出的齒形鼓形量對稱。
9.珩齒工藝守則
(1)根據被珩齒輪的精度等級,熱處理變形情誤解選取珩齒方式。
(2)珩磨輪的精度一般應爲9~10級,其齒圈徑向跳動應不大於0.10mm。
(3)珩齒時,被珩齒輪一般應處於升速狀态,珩磨輪轉速不應太高,一般可在200~300r/min範圍内選取 。
(4)珩齒循環次數,一般取2~4次,循環次數多瞭會破壞齒輪的齒形精度。
(5)珩磨輪的超越行程,一般應按珩磨輪厚度的1/3選取。其餘可參照剃齒工藝守則。
10.漸開線圓柱齒輪磨齒工藝守則
(1)磨齒前的準備
①根據齒輪的模數、齒數、材質、硬度 、磨削方式、齒面粗糙度等因素合理選用砂輪。
②砂輪要進行粗平衡→修整→精平衡→再修整。
(2)被磨削齒輪的裝夾
①磨齒機上下(左右)頂尖的徑向跳動應不大於0.003mm。
②盤狀齒輪應盡可能與其相配軸壓裝後磨齒。
③使用磨齒心軸定位磨齒時:
a.磨齒心軸的選用按表Ⅱ-10。
表Ⅱ-10磨齒心軸的選用1)
齒輪精度等級
選用心軸種類
3~4
按每隔2μm公差分組的圓柱心軸,使工作與心軸配合間隙爲2μm,或採用密球心軸
5~6
錐度心軸1:5000~1:15000,或按4μm公差分組的圓柱心軸
6~7
圓柱心思,或脹套心軸
1)齒輪精度等級按第Ⅱ公差組的要求。
b.磨齒心軸各部分精度和粗糙度要求推薦按表Ⅱ-11。
表Ⅱ-11磨齒心軸各部分精度和粗糙度要求1)
齒輪精度
等級
磨齒心軸徑向跳動
(mm)
端面外對圓垂直度
(mm)
端面、外圓粗糙度
(μm)
中心距
接觸面(%)
粗糙度(μm)
3~5
0.001
0.001~0.002
Ra0.1
85
Ra0.1
5
0.002~0.003
0.002~0.004
6~7
0.003~0.005
0.005~0.006
Ra0.2
80
1)齒輪精度等級按表Ⅱ公差組的要求。
c.要保證被磨削齒輪孔與磨齒心軸的配合精度。
d.墊圈兩端面的平行度應不大於0.005mm。
e.磨齒心軸的傳動夾頭裝夾螺釘擰緊應适量。
④使用夾具定位磨齒時:
a.夾個定位面在φ400mm範圍内,端面跳動應不大於0.005mm;
b.被磨削齒輪内孔的徑向跳動和基準端面跳動均應不大於表Ⅱ-11中規定數值的85%。
(3)砂輪的安裝與修正
①砂輪安裝後,應用砂輪修整器修出所需的砂輪齒形角:
a.對錐面砂輪磨齒機,砂輪齒形角一般應與被磨削齒輪的壓力角相等。
b.對馬路磨齒機,可根據被磨削齒輪的精度和生産批量,優先採用0°磨削法或K型磨削法。
②修正砂輪時,應使金剛石尖的移動軌迹通過砂輪軸線,且移動速度應均勻。
(4)機床調整
①使用挂輪展成磨齒機時,其滾比挂輪應計算到小數後有效數字第五位;使用基圓盤展成磨齒機時,基圓盤直徑應計算到小數點後有效數字第二位。基圓盤的徑向跳動應不大於0.015mm。
②分齒挂輪和滾比挂輪的齧合間隙應保證在0.08~0.12mm内。
(5)磨齒加工
①根據被磨削齒輪的模數、齒數、材質、硬度、精度等級、齒面粗度、砂輪的材料、粒度、硬度合理選取磨削速度,進給量和行程次數。
②首件齒輪不得一次磨到成品尺寸,在磨削過程中應檢查其齒形、齒向、周節等項目,合格後再繼續磨至成品尺寸。
③被磨削齒輪齒面不允許有燒傷、裂紋等缺陷。
④調整工作台的行程長度時,應保證齒輪漸開線齒形能完全展開,並要有适當的空行程,以消除工作台的返行程傳動間隙或液壓波動。
上一篇 上一篇: 齒輪裝置噪聲及功率級測定方法附錄(GB6404-86)
下一篇 下一篇: 圓弧圓柱齒輪精度誤差定義和代号、精度等級、齒坯檢驗與公差(JB4021-85)
相關新聞文章 > 查看更多
O型圈損壞的原因和措施-工作條件不當 2026-02-06
工業齒輪油在使用中應注意什麽? 2025-06-19
錐齒輪承載能力計算方法第 2 部分:齒面接觸疲勞(點蝕)強度計算潤滑油膜影響系數ZL、ZV、ZR(GB/T10062.2-2003) 2025-05-13
平面二次包絡環面蝸杆減速器系列、潤滑和承載能力減速器的潤滑(GB/T16444-1996) 2025-03-26
什麽是軸承的互換性 2024-12-23
什 麽 是 滾 動 軸 承 2024-12-17
什麽是軸承的特征壽命 2024-10-29
步進電機的外表溫度允許達到多少? 2024-09-16
圓柱齒輪檢驗實施規範第2部分:徑向綜合偏差、徑向跳動、齒厚和側隙的檢驗徑向跳動的測量、偏心量的確定(GB/Z18620.2-2002) 2024-08-22
漸開線圓柱齒輪精度齒輪副的檢驗和要求、側隙(GB10095-88) 2024-07-18
圓弧圓柱齒輪精度精度等級、齒坯要求(GB/T15753-1995) 2024-05-21
輥道電機減速器産品分類(JB/T5562-91) 2024-04-19
返回頂部 關閉本頁】 【打印本頁
電 話:021-22815912  021-22816186  傳 真:021-32050712   郵箱:sales@021jsj.cn  減速機 絲杆升降機 轉向箱 蝸輪蝸杆減速機
Copyright©2009-2026上海恒點傳動設備有限公司 版權所有  地址:上海市金山區亭林鎮林寶路39号  郵編:200442  滬ICP備10206998号-2 
友情鏈接機械設備網 | 渦街流量計 | 輸送機 | 變頻控制櫃 | 破碎機 | 工業同城 | 手持終端 | 柴油發電機 | uv平闆打印機 | 風淋室 | QUV | 防火門 | 九愛圖紙 | 感應加熱設備 | 輸送帶廠家 | 噪聲治理 | 西門子plc | 拖鏈電纜 | AGV | 機械雜志 | 現代機械 | UWB高精度定位 |